Dane techniczne
- Powierzchnia użytkowa 131.72 m²
- Powierzchnia zabudowy 221.27 m²
- Kubatura 538.79 m³
- Kąt nachylenia dachu 25.00°
- Powierzchnia dachu 252.85 m²
- Wysokość budynku 6.66 m
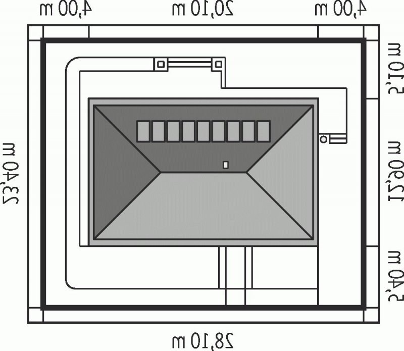
- Min. wymiary działki 28.10x23.40 m
- Garaż 34.60 m²
- Pracownia Archipelag
Technologia budowy
Dom zaprojektowany w technologii murowej ze stropem gęstożebrowym. Dach o konstrukcji drewnianej pokryty dachówką cementową IBF. Elewacje wykończono tynkiem mineralnym w kolorze TO-YE016 z palety firmy Termo Organika, okładziną kamienną i drewnianą. Cokół kamienny. Stolarka okienna drewniana lub PCV.
Opis
Dom parterowy, niepodpiwniczony z garażem dwustanowiskowym. Przeznaczony dla 4-5-osobowej rodziny. Strefę dzienną tworzy salon, z przestronną jadalnią oraz kuchnia ze spiżarnią. Strefa nocna to trzy wygodne sypialnie wraz z łazienką. W części technicznej znajduje się obszerne pomieszczenie gospodarcze, dostępne również z zewnątrz. EX 8 G2 (wersja D) soft to dom, obok którego nie można przejść obojętnie. Swój wyjątkowy charakter budynek zawdzięcza intrygującej kompozycji elewacji – atrakcyjny efekt wizualny tworzy udana mikstura wanilii, naturalnego drewna oraz kamienia. Wnętrze domu z reprezentacyjnym salonem spełni oczekiwania miłośników przestrzeni wypełnionych naturalnym światłem i dobrą, zieloną energią ogrodu. Projekty z serii EX soft wyposażono w standardowy zestaw instalacji: wentylację grawitacyjną i piec gazowy. Istnieje możliwość: - podpiwniczenia budynku
Rzuty
PARTER
- Wiatrołap 3.59 m2
- Hol 8.46 m2
- Kuchnia 9.53 m2
- Spiżarnia 1.32 m2
- Jadalnia 9.78 m2
- Pokój dzienny 29.43 m2
- Gabinet 11.53 m2
- Toaleta 2.18 m2
- Korytarz 8.38 m2
- Sypialnia 16.42 m2
- Sypialnia 11.79 m2
- Sypialnia 11.71 m2
- Łazienka 7.60 m2
- Kotłownia 10.30 m2
- Garaż 34.60 m2
Rzuty
PARTER
- Wiatrołap 3.59 m2
- Hol 8.46 m2
- Kuchnia 9.53 m2
- Spiżarnia 1.32 m2
- Jadalnia 9.78 m2
- Pokój dzienny 29.43 m2
- Gabinet 11.53 m2
- Toaleta 2.18 m2
- Korytarz 8.38 m2
- Sypialnia 16.42 m2
- Sypialnia 11.79 m2
- Sypialnia 11.71 m2
- Łazienka 7.60 m2
- Kotłownia 10.30 m2
- Garaż 34.60 m2
Dbamy o swoich Klientów, jak nikt inny!
Do każdego projektu zakupionego za pośrednictwem serwisu kreoDOM.pl otrzymasz książeczkę z rabatami na zakupy w firmach Komfort, Fachowiec, Domino Łazienki, Komandor, Witek Home i innych. Książeczka na pewno okaże się przydatna podczas urządzania Twojego wymarzonego domu!
Książeczka z rabatami do takich firm jak: Komfort, Domino Łazienki, Fachowiec, Vox, Komandor, Witek Home i innych
Gwarancja
bezpiecznych zakupów
Dodatkowe pakiety projektowe
- Kosztorys inwestorski cena ustalana indywidualnie
- Wentylacja mechaniczna z rekuperacją 700,00 zł
- Wentylacja mechaniczna + GPWC 700,00 zł
- Kolektory Słoneczne 400,00 zł
- Panele Fotowoltaiczne 400,00 zł
- Pompa Ciepła 500,00 zł
- Kominek z DGP 400,00 zł
- Biologiczna oczyszczalnia ścieków 150,00 zł
- Centralny Odkurzacz 300,00 zł
- Szambo przydomowe 200,00 zł
- Dodatkowy egzemplarz projektu 150,00 zł